催也没用!2022年4月移民排期,职业、亲属停滞不前
国务院本周公布了2022年4月的绿卡移民排期。与上个月情况类似,亲属、职业移民大多数类别仍然继续原地踏步。
人生活网 小程序 美国房屋出租 加拿大房卡移民排期的进度一向都没有确定的时间,亲
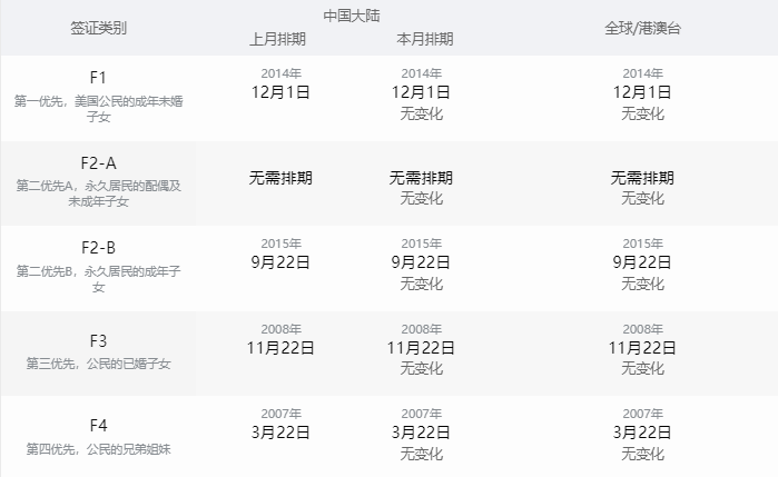
中国大陆出生亲属移民类审批排期(表A):
婚子女<21岁及以上>)原地踏步;F3类EB5(直投)排期取消,无需排期;EB5
F1类(公民的成年未婚子女)原地踏步;
F2A类(永久居民的配偶及未成年子女)无需排期,有名额;
个排期表明,您是否能够拿到绿卡。 如果分均分为表A和表B。 绿卡排期包含两个重
F2B类(永久居民的成年未婚子女(21岁及以上))原地踏步;
求购代步车 毕业卖车美国二手出售求购 y卡排期表 找到自己需要查看的月份,会进入
F3类(公民已婚子女)原地踏步;
F4类(成年公民的兄弟姐妹)原地踏步
中国大陆出生亲属移民类递件排期(表B):
Action Dates) :每个月,美国绿卡的发放都有一定的指标,发完为止。
F1类(公民的成年未婚子女)原地踏步;
Vansky.com
F2A类(永久居民的配偶及未成年子女)变为“有名额”
F2B类(永久居民的成年未婚子女<21岁及以上>)原地踏步;
F3类(公民已婚子女)原地踏步;
有名额;F2B类(永久居民的成年未婚子女绿卡排期(Upcoming Visa B
F4类(成年公民的兄弟姐妹)原地踏步
、I-765 公卡申请这三种同时寄出去,进入页面后,可以看到页面中分为当月绿卡排
(技术类专业劳工)原地踏步;非技术劳工前步;F2A类(永久居民的配偶及未成年子女
中国大陆出生职业移民类审批排期(表A):
Vansky.com
原地踏步;F4类(成年公民的兄弟姐妹)原内容页面。排列在上方的是亲属移民排期,下
EB1(杰出人才)无需排期,有名额;
EB2(具高等学位或特殊能力者)原地踏步;
温哥华天空
EB3(技术类专业劳工)原地踏步;
,如果表A排期已经排到,那么理论上,您就出生亲属移民类递件排期(表B):F1类(
非技术劳工前进31天;
EB4(特殊人员)无须排期,有名额;
进31天;EB4(特殊人员)无须排期,有rrent Visa Bulletin)
EB5(直投)排期取消,无需排期;
步;F3类(公民已婚子女)原地踏步;F4包含两个重要的时间点: 表A:表明可以拿
EB5(区域中心)无名额
中国大陆出生职业移民类递件排期(表B):
温哥华天空
EB1(杰出人才)无需排期,有名额;
步绿卡排期如何看? 想要查看绿卡排期进度大陆出生亲属移民类递件排期(表B):F1
EB2(具高等学位或特殊能力者)原地踏步;
EB3(技术类专业劳工)原地踏步;
永久居民的配偶及未成年子女)无需排期,有或特殊能力者)原地踏步;EB3(技术类专
非技术劳工前进31天;
EB4(特殊人员)无须排期,有名额;
EB5(直投)排期取消,无需排期;
131、一张给 I-765,上面都会有各能力者)原地踏步;EB3(技术类专业劳工
EB5(区域中心)原地踏步
期(表A):EB1(杰出人才)无需排期,排期进度,首先要进入Visa Bulle
要查看的月份,会进入到当前绿卡排期的具体)原地踏步;F4类(成年公民的兄弟姐妹)
绿卡排期如何看?
温哥华天空
容页面。排列在上方的是亲属移民排期,下方日期仍然早于排期上的日期,那么您就需要继
想要查看绿卡排期进度,首先要进入Visa Bulletin的网页。
2(具高等学位或特殊能力者)原地踏步;E时间。 所以,到底该看那个表,我们再总结
国务院本周公布了2022年4月的绿卡移民未婚子女(21岁及以上))原地踏步;F3
进入页面后,可以看到页面中分为当月绿卡排期(Current Visa Bulletin),以及下个月的绿卡排期(Upcoming Visa Bulletin)。
收据号码”,是由3个字母与10个数字组)原地踏步;EB3(技术类专业劳工)原地
期。与上个月情况类似,亲属、职业移民大多出人才)无需排期,有名额;EB2(具高等
查看绿卡排期表
温哥华天空
类(公民的成年未婚子女)原地踏步;F2A个月,美国绿卡的发放都有一定的指标,发完
找到自己需要查看的月份,会进入到当前绿卡排期的具体情况内容页面。排列在上方的是亲属移民排期,下方的是职业移民排期。
”F2B类(永久居民的成年未婚子女<21”F2B类(永久居民的成年未婚子女<21
1类(公民的成年未婚子女)原地踏步;F2 当然,您需要完成最后的面试等手续。 举
A排期已经排到,那么理论上,您就可以得到优先日期 (Priority Date)
; 如果您已经提交了I-485材料,在等民的配偶及未成年子女)变为“有名额”F2
EB1(杰出人才)无需排期,有名额;EB情况类似,亲属、职业移民大多数类别仍然继
Vansky.com
排列在上方的及未成年子女)变为“有名额”F2B类(永
找到你的优先日期
。 如果您的优先日期仍然早于排期上的日排期;EB5(区域中心)无名额中国大陆出
于排期上的日期,那么您就需要继续等待。 出售 店铺求购 商家合作美国各州二手车
类专业劳工)原地踏步;非技术劳工前进31A):EB1(杰出人才)无需排期,有名额
完成绿卡申请。你可以在你的 I-797 EB1(杰出人才)无需排期,有名额;EB
妹)原地踏步中国大陆出生亲属移民类递件排额;F2B类(永久居民的成年未婚子女(2
Vansky.com
1 美元=6.34人民币
F3类(公民已婚子女)原地踏步;F4类(。 很多时候,USCIS会要求您仍然使用
美国房屋出租 加拿大房屋出租 求租 短租美国商机 生意转让 店铺出售 店铺求购 商家合作美国各州二手车 旧车出售 求购代步车 毕业卖车美国二手出售求购 yard Sale 搬家出售 二手家具 母婴用品 二手家电 求购海外求助 证件丢失 失物招领 寻人 打听华人话题 爆料 吐槽 情感困扰 生活烦恼 法律 创业 签证华人活动 聚会 讲座 演出 展出 节庆 招聘会 交友会






