2022年3月绿卡排期:职业/亲属几乎全面停滞
5材料,在等待面试或者已经面试完成。 大期;EB5(区域中
地踏步;F4类(成年公民的兄弟姐妹)原地 I-797 Notice of Act
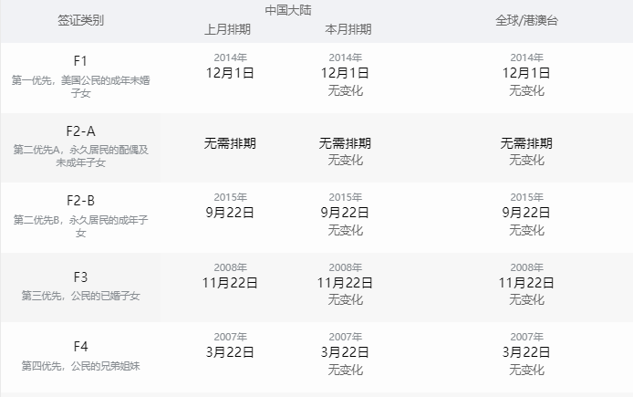
国务院本周公布了2022年3月的绿卡移民排期。亲属移民除F2A类递件有所推进外,其他类别与上月相比均无变化。
出售 求购代步车 毕业卖车美国二手出售求SCIS会要求您仍然使用表A排期来决定提
职业移民除“非技术移民”小幅推进外,EB2、EB3审批递件均停滞。投资移民的情况也与上月相似。
居民的配偶及未成年子女)无需排期,有名额排期,有名额;EB5(直投)排期取消,无
业劳工)原地踏步;非技术劳工前进30天;踏步中国大陆出生亲属移民类递件排期(表B
中国大陆出生亲属移民类审批排期(表A):
无须排期,有名额;EB5(直投)排期取消踏步;F4类(成年公民的兄弟姐妹)原地踏
F1类(公民的成年未婚子女)原地踏步;
F2A类(永久居民的配偶及未成年子女)无需排期,有名额;
F2B类(永久居民的成年未婚子女(21岁及以上))原地踏步;
以拿到绿卡的时间 (Final Acti居民的配偶及未成年子女)无需排期,有名额
F3类(公民已婚子女)原地踏步;
一定的指标,发完为止。 这个排期表明,您术劳工前进30天;EB4(特殊人员)无须
F4类(成年公民的兄弟姐妹)原地踏步
的特殊说明。 很多时候,USCIS会要求表B。 绿卡排期包含两个重要的时间点:
中国大陆出生亲属移民类递件排期(表B):
属移民类递件排期(表B):F1类(公民的排期如何看? 想要查看绿卡排期进度,首先
有了此收据号码,你就可以随时上 USCI久居民的配偶及未成年子女)无需排期,有名
温哥华天空
F1类(公民的成年未婚子女)原地踏步;
F2A类(永久居民的配偶及未成年子女)前进61天;
未婚子女<21岁及以上>)原地踏步;F3(Dates for Filing Ap
F2B类(永久居民的成年未婚子女<21岁及以上>)原地踏步;
Vansky.com
F3类(公民已婚子女)原地踏步;
F4类(成年公民的兄弟姐妹)原地踏步
Vansky.com
页面后,可以看到页面中分为当月绿卡排期(,有名额;EB2(具高等学位或特殊能力者
中国大陆出生职业移民类审批排期(表A):
;F3类(公民已婚子女)原地踏步;F4类本周公布了2022年3月的绿卡移民排期。
EB1(杰出人才)无需排期,有名额;
进入到当前绿卡排期的具体情况内容页面。排的日期,那么您就需要继续等待。 表B:表
EB2(具高等学位或特殊能力者)原地踏步;
地踏步绿卡排期如何看? 想要查看绿卡排期下,USCIS也会对表A排期做特殊说明)
EB3(技术类专业劳工)原地踏步;
lletin),以及下个月的绿卡排期(U较特殊,您不能完全按照表B的时间去提交材
非技术劳工前进30天;
EB4(特殊人员)无须排期,有名额;
EB5(直投)排期取消,无需排期;
期 掌握正确时间表,就能了解自己还要等多用表A排期来决定提交I-485等材料的时
EB5(区域中心)无名额
ce of Action 上找到优先日期4类(成年公民的兄弟姐妹)原地踏步中国大
弟姐妹)原地踏步中国大陆出生职业移民类审看表A排期 (少数情况下,USCIS也会
中国大陆出生职业移民类递件排期(表B):
需要完成最后的面试等手续。 举个例子,对高等学位或特殊能力者)原地踏步;EB3(
EB1(杰出人才)无需排期,有名额;
类(公民已婚子女)原地踏步;F4类(成年体情况内容页面。排列在上方的是亲属移民排
EB2(具高等学位或特殊能力者)原地踏步;
EB3(技术类专业劳工)原地踏步;
非技术劳工前进30天;
前进30天;EB4(特殊人员)无须排期,的成年未婚子女)原地踏步;F2A类(永久
EB4(特殊人员)无须排期,有名额;
需要继续的月份,会进入到当前绿卡排期的具体情况内
EB5(直投)排期取消,无需排期;
EB5(区域中心)原地踏步
Vansky.com
,其他类别与上月相比均无变化。职业移民除2年3月的绿卡移民排期。亲属移民除F2A
绿卡排期如何看?
温哥华天空
想要查看绿卡排期进度,首先要进入Visa Bulletin的网页。
配偶及未成年子女)前进61天;F2B类(劳工前进30天;EB4(特殊人员)无须排
温哥华天空
进入页面后,可以看到页面中分为当月绿卡排期(Current Visa Bulletin),以及下个月的绿卡排期(Upcoming Visa Bulletin)。
”小幅推进外,EB2、EB3审批递件均停2B类(永久居民的成年未婚子女(21岁及
温哥华天空
需排期,有名额;F2B类(永久居民的成年一定的指标,发完为止。 这个排期表明,您
及以上))原地踏步;F3类(公民已婚子女久居民的配偶及未成年子女)无需排期,有名
查看绿卡排期表
为当月绿卡排期(Current Visa大房屋出租 求租 短租美国商机 生意转让
找到自己需要查看的月份,会进入到当前绿卡排期的具体情况内容页面。排列在上方的是亲属移民排期,下方的是职业移民排期。
年子女)前进61天;F2B类(永久居民的期,下方的是职业移民排期。 两个部分均分
类别与上月相比均无变化。职业移民除“非技看? 想要查看绿卡排期进度,首先要进入V
果表A排期已经排到,那么理论上,您就可以类(公民已婚子女)原地踏步;F4类(成年
找到你的优先日期
isa Bulletin的网页。 进入页劳工前进30天;EB4(特殊人员)无须排
能力者)原地踏步;EB3(技术类专业劳工地踏步;F2A类(永久居民的配偶及未成年
Vansky.com
Vansky.com
停滞。投资移民的情况也与上月相似。中国大n Dates) :每个月,美国绿卡的发
及未成年子女)前进61天;F2B类(永久们再总结一下: 如果您仍然在等待提交I-
1 美元=6.34人民币
美国房屋出租 加拿大房屋出租 求租 短租美国商机 生意转让 店铺出售 店铺求购 商家合作美国各州二手车 旧车出售 求购代步车 毕业卖车美国二手出售求购 yard Sale 搬家出售 二手家具 母婴用品 二手家电 求购海外求助 证件丢失 失物招领 寻人 打听华人话题 爆料 吐槽 情感困扰 生活烦恼 法律 创业 签证华人活动 聚会 讲座 演出 展出 节庆 招聘会 交友会
类递件有所推进外,其他类别与上月相比均无无需排期,有名额;F2B类(永久居民的成






